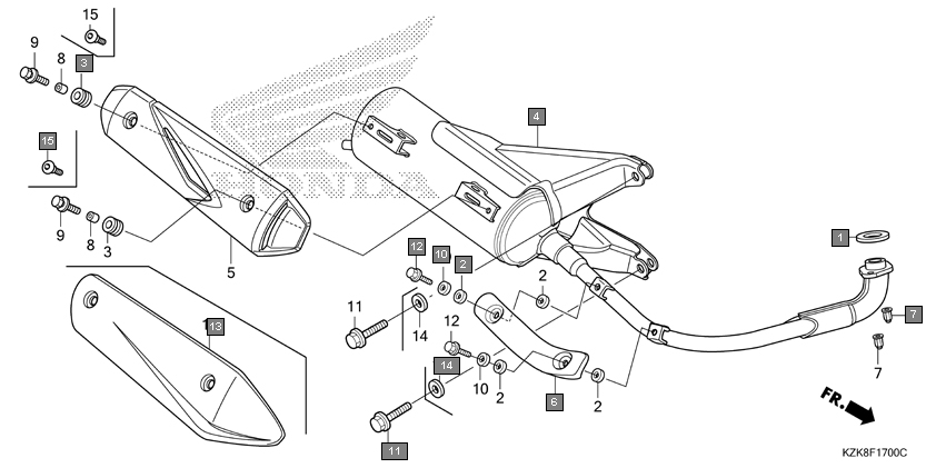
Ref.No. | Part No. | Description | Oty |
---|---|---|---|
1 | 18292GY1610 | GASKET, EX. PIPE | 1 |
2 | 18292KTP900 | PACKING, PROTECTOR | 4 |
3 | 18345KWPH00 | RUBBER, PROTECTOR MOUNTING | 2 |
4 | 18300KZKE00 | MUFFLER COMP., EX. | 1 |
5 | 18319KZKF00 | PROTECTOR, EX. PIPE | 1 |
6 | 90304MJ0920 | NUT, CAP, 7MM | 2 |
7 | 9410106700 | WASHER, PLAIN, 6MM | 2 |
8 | 958011004007 | BOLT, FLANGE, 10X40 | 2 |
9 | 960010601007 | BOLT, FLANGE, 6X10 | 2 |
10 | 18318KZKE00 | PROTECTOR, MUFFLER | 1 |
11 | 90510KVTG00 | WASHER, PLAIN, 10MM | 2 |
12 | 90113KYJ710 | SCREW, PAN, 6X12 | 2 |